Product Summary
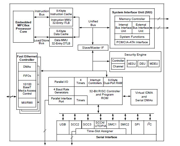
The MPC880CVR133 is a versatile single-chip integrated microprocessor and peripheral combination that can be used in a variety of controller applications and communications and networking systems. The MPC880CVR133 provides enhanced ATM functionality, an additional fast Ethernet controller, a USB, and an encryption block. The CPU on the MPC880CVR133 is a 32-bit core built on Power Architecture technology that incorporates memory management units (MMUs) and instruction and data caches.
Parametrics
MPC880CVR133 absolute maximum ratings: (1)VDDH: –0.3 to 4.0 V; (2)VDDL: –0.3 to 2.0 V; (3)VDDSYN: –0.3 to 2.0 V; (4)Difference between VDDL and VDDSYN: <100 mV; (5)Input voltage, Vin: GND - 0.3 to VDDH V; (6)Storage temperature range Tstg: –55 to +150 ℃.
Features
MPC880CVR133 features: (1)Embedded MPC8xx core up to 133 MHz; (2)Maximum frequency operation of the external bus is 80 MHz; (3)Single-issue, 32-bit core (compatible with the Power Architecture definition) with thirty-two 32-bit general-purpose registers; (4)Up to 32-bit data bus (dynamic bus sizing for 8, 16, and 32 bits); (5)Thirty-two address lines; (6)Four baud rate generators; (7)1.8-V core and 3.3-V I/O operation; (8)The MPC885/MPC880 comes in a 357-pin ball grid array(PBGA) package.
Diagrams

| Image | Part No | Mfg | Description | ![]() |
Pricing (USD) |
Quantity | ||||||||||
|---|---|---|---|---|---|---|---|---|---|---|---|---|---|---|---|---|
![]() |
![]() MPC880CVR133 |
![]() Freescale Semiconductor |
![]() Microprocessors (MPU) PQ I HIP6W DUET |
![]() Data Sheet |
![]()
|
|
||||||||||
| Image | Part No | Mfg | Description | ![]() |
Pricing (USD) |
Quantity | ||||||||||
![]() |
![]() MPC800 |
![]() Other |
![]() |
![]() Data Sheet |
![]() Negotiable |
|
||||||||||
![]() |
![]() MPC801 |
![]() Other |
![]() |
![]() Data Sheet |
![]() Negotiable |
|
||||||||||
![]() |
![]() MPC801KG |
![]() Other |
![]() |
![]() Data Sheet |
![]() Negotiable |
|
||||||||||
![]() |
![]() mPC8104GR |
![]() Other |
![]() |
![]() Data Sheet |
![]() Negotiable |
|
||||||||||
![]() |
![]() mPC8106TB |
![]() Other |
![]() |
![]() Data Sheet |
![]() Negotiable |
|
||||||||||
![]() |
![]() mPC8109TB |
![]() Other |
![]() |
![]() Data Sheet |
![]() Negotiable |
|
||||||||||
(Hong Kong)










