Product Summary
The MCIMX31DVMN5D is a multimedia applications processor. It represents the next step in low-power, high-performance application processor.
Parametrics
MCIMX31DVMN5D absolute maximum ratings: (1)Supply Voltage (Core), QVCCmax: –0.5 to 1.65 V; (2)Supply Voltage (I/O), NVCCmax: –0.5 to 3.3 V; (3)Input Voltage Range, VImax: –0.5 to NVCC +0.3 V; (4)Storage Temperature, Tstorage: –40 to 125 ℃; (5)ESD Damage Immunity, Vesd: 1500V Human Body Model (HBM); 200V; Machine Model (MM); 500V Charge Device Model (CDM); (6)Offset voltage allowed in run mode between core supplies, Vcore_offset: 15mV.
Features
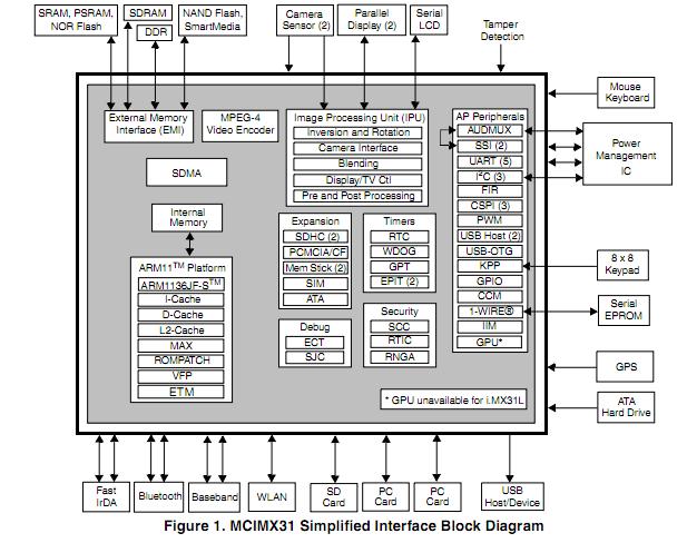
MCIMX31DVMN5D features: (1)Multimedia and floating-point hardware acceleration supporting: MPEG-4 real-time encode of up to VGA at 30 fps; MPEG-4 real-time video post-processing of up to VGA at 30 fps; Video conference call of up to QCIF-30 fps (decoder in software), 128 kbps; Video streaming (playback) of up to VGA-30 fps, 384 kbps; 3D graphics and other applications acceleration with the ARM tightly-coupled Vector Floating Point co-processor; On-the-fly video processing that reduces system memory load (for example, the power-efficient viewfinder application with no involvement of either the memory system or the ARM CPU); (2)Advanced power management: Dynamic voltage and frequency scaling; Multiple clock and power domains; Independent gating of power domains; (3)Multiple communication and expansion ports including a fast parallel interface to an external graphic accelerator (supporting major graphic accelerator vendors); (4)Security.
Diagrams

| Image | Part No | Mfg | Description | ![]() |
Pricing (USD) |
Quantity | ||||||||
|---|---|---|---|---|---|---|---|---|---|---|---|---|---|---|
![]() |
![]() MCIMX31DVMN5D |
![]() Freescale Semiconductor |
![]() Processors - Application Specialized 2.0.1 CONSUMER FULL |
![]() Data Sheet |
![]()
|
|
||||||||
![]() |
![]() MCIMX31DVMN5DR2 |
![]() Freescale Semiconductor |
![]() Processors - Application Specialized 2.0.1 CONSUMER FULL |
![]() Data Sheet |
![]()
|
|
||||||||
(Hong Kong)










